Magic Shelf Wires - No Visible Means Of Support

SKU: X520614U
filler

Length: 6-1/4" C/C
Price: Price Available by Request

Description

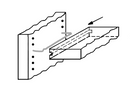
Stylish, affordable way to install shelf supports. They're one of our most popular shelf supports, too! Completely hidden after installation. Magic wire shelf supports in five sizes, measured center-to-center (C/C).

Installation: Drill a series of 1/8" diameter holes x 1/2" deep in the side wall, horizontally separated according to the wire selected and the shelf depth.

MINI wire is used individually for any hole spacing.

Zinc Plated.

You may also like

Recently viewed